
电缆工程量如何计算,电力电缆工程量计算
安装造价里,最难的莫过于建筑电气,为何?从电缆电线的区分到分别计算,从电气桥架到爬墙走线,从防雷接地到弱电智能化,每个环节都是比较复杂且难以弄懂的,今天,小编就带领各位安装造价人一起学习如何计算电气工程量及方法。
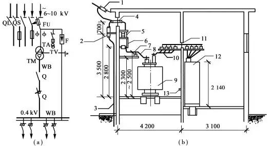
01
10kV高压架空进户装置
10 kV以下悬式绝缘子XP,以“串”计量;
10 kV以下户外高压熔断器WR,以“组”计量;
钢穿通板,以“块”计量;
10 kV以下穿墙导管CLB,以“个”计量;
10 kV以下避雷器FS,以“组”计量;
10 kV以下户内、外支持绝缘子ZA,以“个”计量;
支架、金具,以“kg”计算。
02
变配电装置及设备
从进户装置起依序计算
03 变 压 器 安 装 计算规则:按不同电压等级、不同容量和不同类型分别以“台”计量。 TM安装:不包括变压器油耐压试验及变压器系统调试。 TM分类:冷却方式有油浸式、干式;相数分单相与三相;线圈材质分铜、铝线圈;铁芯分热轧与冷轧硅钢片等。 04 配电装置安装 断路器(QF)、负荷开关(QL)、隔离开关(QS),断、通正常负荷电路,保护和控制高压电器设备。安装包括所配备的电磁式、弹簧储能式、手动式等操作机构。 电流互感器(TA)、电压互感器(TV)作为测量电压、电流、电能及继电保护之用。 计算规则:上述装置均以“台”计量。 05 母 线 安 装 母线:有变配电装置高压母线和车间配电低压母线,注意区别。 常用硬母线:铜(TMY)、铝(LMY) 。 计算规则:单片“延长米”计算。 L母= (母线设计单片延长米长度+母线预留长度)×(1+2.3%) 制作安装损耗:2.3%。 06 高压控制设备 高压控制台、柜、屏,用于发电厂、工矿企业变配电站(所),接受电力和大型高压交流电动机启动、保护的主要设备。 目前,国产有固定、手车及活动式三种。 型号有GG、GFC、GBC等型。 计算规则:分别按控制屏、继电屏、模拟屏、电源屏、直流屏、控制台及箱式配电室等以“台”计量。 07 低压控制配电设备 计算规则:成套型动力、照明控制及配电用柜、箱、屏等,不分型号、规格及安装方式,均以“台”计量。 进出柜、箱、屏的导线需焊(压)接线端子时,以“个”计量。 高压、低压设备基座、支架:槽(角)钢基座、支架制安按“kg”、“m”计算。 08 电力及控制电缆 ▲ 电缆埋地或地沟进户示意 ▲ L=(l1+l2+l3+l4+l5+l6+l7)×(1+2.5%) 09 电力及控制电缆安装 计算规则:10 kV以下电力及控制电缆;无论敷设方式用部位,分别以“m”计算。 电缆长度以敷设方式和部位的表达式: 电缆长度=(2×端头长+引上下长+直埋地长+电缆沟长+保护管长+钢索长+沿墙长+竖井道长+桥架长+槽架长十梯架长+线道长等+电缆预留量)×(1+2.5%) 电缆端头:制作安装以“个”计量。 10 电缆直埋敷设 电缆沟土石方,以“m³ ”计算: V=S L,两根电缆每1m沟长,V=0.45m 每增加一根电缆,每1m沟增加0.153m³。 电缆沟铺砂盖砖:以沟长度“m”计算。 11 电缆沟内敷设 电缆沟:进人、不进人沟。 沟体砌筑:土石方量“m³”;沟底、壁砌砖 或浇筑“m³”;沟壁、底抹水泥砂浆“土建;沟盖板制作“m³”;采购时价值及运费。(参考《建筑工程预算定额》) 揭、盖电缆沟盖板:“m”计算; 沟内支架制安:钢“kg” 、砼“m³ ”计算。 12 电缆桥架安装 桥架:分为梯式、托盘式(有孔托盘、无孔托盘),一般由直线段、弯通、三通等附件及支、吊架等构成。 计算规则:无论钢质、不锈钢、铝合金、玻璃钢、塑料质桥架,均按“m”计算。包括桥架每段间用5.5~16m㎡的电气连通跨接线及接地线和接地端子的安装。 13 配管工程量 规则:配管以管材质、规格和敷设方式不同(明暗),按“延长米”分别计算,不扣除接线盒(箱)、灯头盒、开关盒所占长度。 要领:从配电箱起逐回路进行计算。 方法:水平管,借建筑物平面图墙、柱轴线尺寸进行计算。只能斜向敷设的管,当图纸比例正确时,可用比例尺量算。 14 配管配线的明暗盒 接线(分线)、插座、开关、灯头等盒按“个”计量。 15 电气配线 规则:照明和动力线路不分品种、规格、型号、敷设方式均按“单线延长米”计算。 管穿线长=(配管长度+导线预留长度)× 同截面导线根数 常用导线:单芯、多芯;铝芯、铜芯;塑料、橡胶绝缘。 ▲ 导线预留长度 ▲